반응형
반응형
공인중개사 시험 과목 및 시험 과목 비중에 대해서 알아보고, 나에게 맞는 전략을 세워보세요.
전 과목 평균 60점 이상 취득할 경우 공인중개사 자격을 획득할 수 있으니 전략적인 공부 방법이 중요합니다.
공인중개사 시험 과목
구분 | 시험과목 | 시험범위 | 출제비율 |
제1차 시험 | 부동산학개론 | 1. 부동산학개론 | 85% 내외 |
2. 부동산감정평가론 | 15% 내외 | ||
민법 및 민사특별법 중 | 1. 민법의 범위 | 85% 내외 | |
부동산 중개에 관련되는 규정 | 1) 총칙 중 법률행위 | ||
2) 질권을 제외한 물권법 | |||
3) 계약법 중 총칙·매매·교환·임대차 | |||
2. 민사특별법의 범위 | 15% 내외 | ||
1) 주택임대차보호법 | |||
2) 집합건물의 소유 및 관리에 관한 법률 | |||
3) 가등기담보 등에 관한 법률 | |||
4) 부동산 실권리자명의 등기에 관한 법률 | |||
5) 상가건물 임대차보호법 | |||
제2차 시험 | 공인중개사의 업무 및 | 1. 공인중개사법 | 70% 내외 |
부동산 거래신고에 관한 | 2. 부동산 거래신고에 관한 법률 | ||
법령 및 중개실무 | 3. 중개실무 | 30% 내외 | |
*2019년부터 "부동산거래 전자계약"내용 포함 | |||
부동산공법 중 | 1. 국토의 계획 및 이용에 관한 법률 | 30% 내외 | |
부동산중개에 관련되는 규정 | 2. 도시개발법 | 30% 내외 | |
3. 도시 및 주거환경정비법 | |||
4. 주택법 | 40% 내외 | ||
5. 건축법 | |||
6. 농지법 | |||
부동산공시에 관한 법령 | 1. 부동산등기법 | 30% 내외 | |
(부동산등기법, 지적법) | 2. 공간정보의 구축 및 관리 등에 관한 법률 제2장 제4절 및 제3장 | 30% 내외 | |
및 부동산 관련 세법 | 3. 부동산 관련 세법 | 40% 내외 | |
(상속세, 증여세, 법인세, 부가가치세 제외) |
시험 과목 세부내역
구 분 | 목 차 | |
1. 부동산학 총론 | 1) 부동산의 개념과 분류 | |
2) 부동산의 특성(속성) | ||
2. 부동산학 각론 | 1) 부동산경제론 | ① 부동산의 수요와 공급 ② 부동산가격이론 |
③ 부동산의 경기변동 | ||
2) 부동산시장론 | ① 부동산시장 ② 입지 및 공간구조론 | |
3)부동산정책론 | ① 부동산정책의 의의 및 기능 ② 토지정책 | |
③ 주택정책 ④ 부동산 조세정책 | ||
4)부동산투자론 | ① 부동산투자 이론 ② 부동산 투자분석 및 기법 | |
5)부동산금융론 | ① 부동산 금융․증권론 | |
6)부동산개발 및 관리론 | ① 부동산 이용 및 개발 ② 부동산 관리 | |
③ 부동산 마케팅 | ||
부동산 감정평가론 | ① 감정평가의 기초이론 ② 감정평가방식 ③ 부동산가격공시제도 |
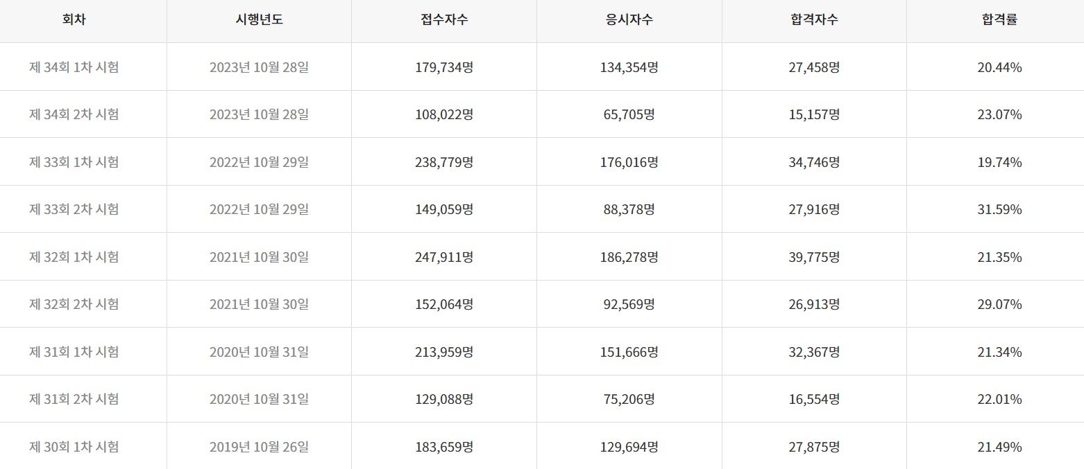
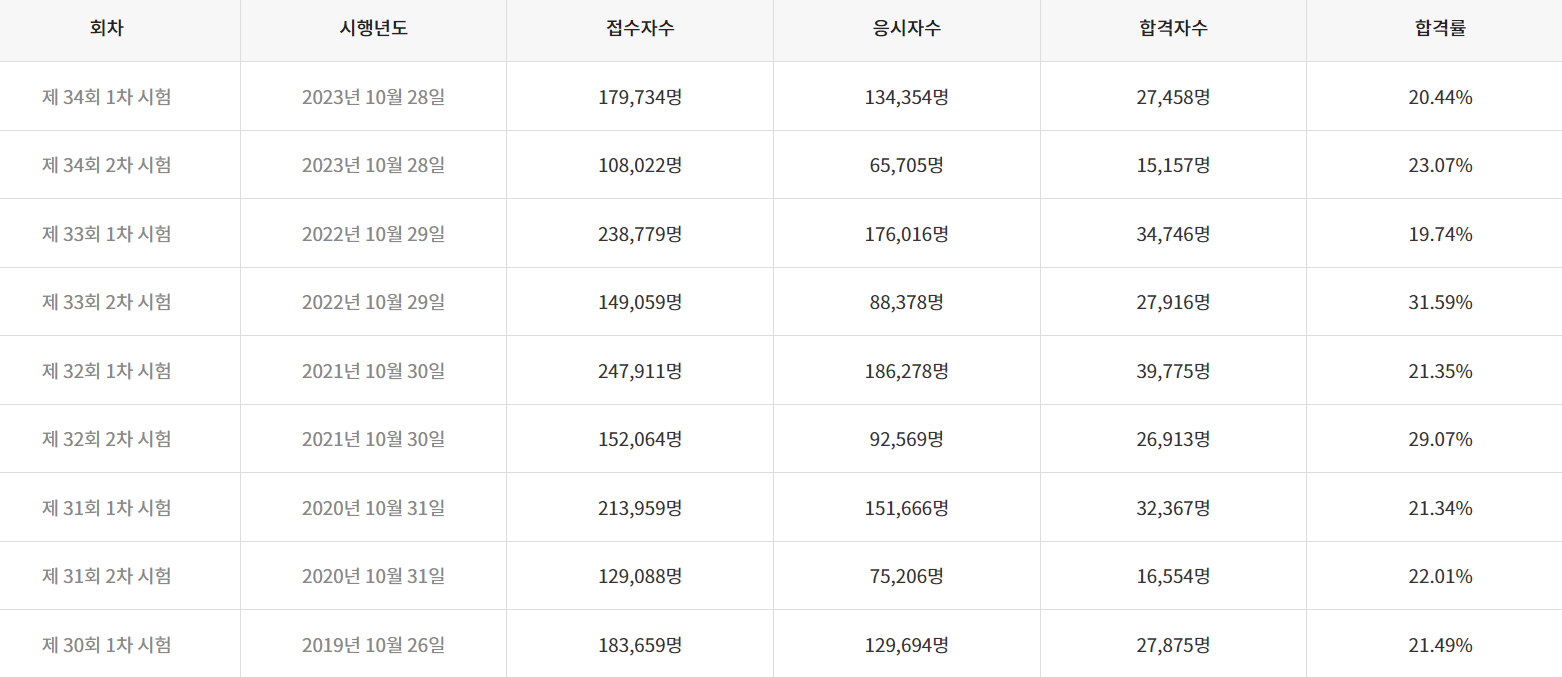
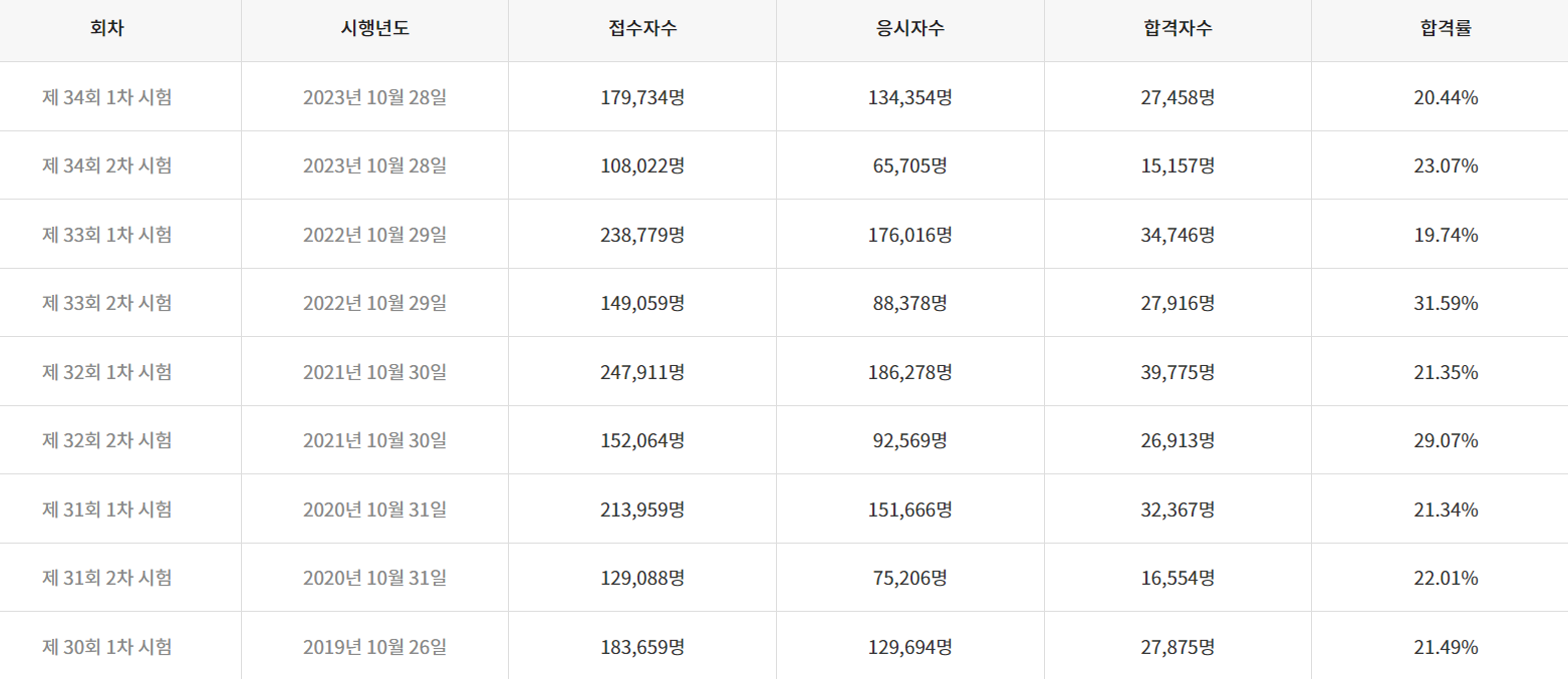
공인중개사 합격률
반응형
'교육' 카테고리의 다른 글
제빵 국비, 제과제빵 국비, 국비지원으로 쉽고 저렴하게 배우기 (0) | 2024.11.18 |
---|---|
요가 자격증 따보기 (내일배움카드 국비지원 여부) (0) | 2024.10.24 |
공인중개사 시험 일정 알아보기 (추가 접수 기간 및 최근 합격률 알아보기) (0) | 2024.09.05 |
공인중개사 시험 일정 및 시험 과목 (합격 방법 알아보기) (0) | 2024.09.05 |
AWS 강의 (1달 만에 AWS 클라우드 자격증 따기) (8) | 2024.09.01 |