반응형
반응형
제 35회 공인중개사 시험 일정은 아래와 같으니 참고하시기 바랍니다.
공인중개사 시험 일정
항목 | 2024년 1차 /2차 |
시험 | 2024.08.05~2024.08.09 |
접수기간 | 2024.10.01~2024.10.02 |
추가 접수기간 | 2024.10.26 |
시험 일정 | 2024.10.26~2024.11.01 |
가답안 발표기간 | 2024.10.26~2024.11.01 |
의견제시기간 | 2024.10.26~2024.11.01 |
최종정답발표기간 | 2024.11.27~2025.01.25 |
합격자발표기간 | 2024.11.27~2025.01.25 |
https://www.q-net.or.kr/man001.do?gSite=L&gId=08
Q-Net 공인중개사
www.q-net.or.kr
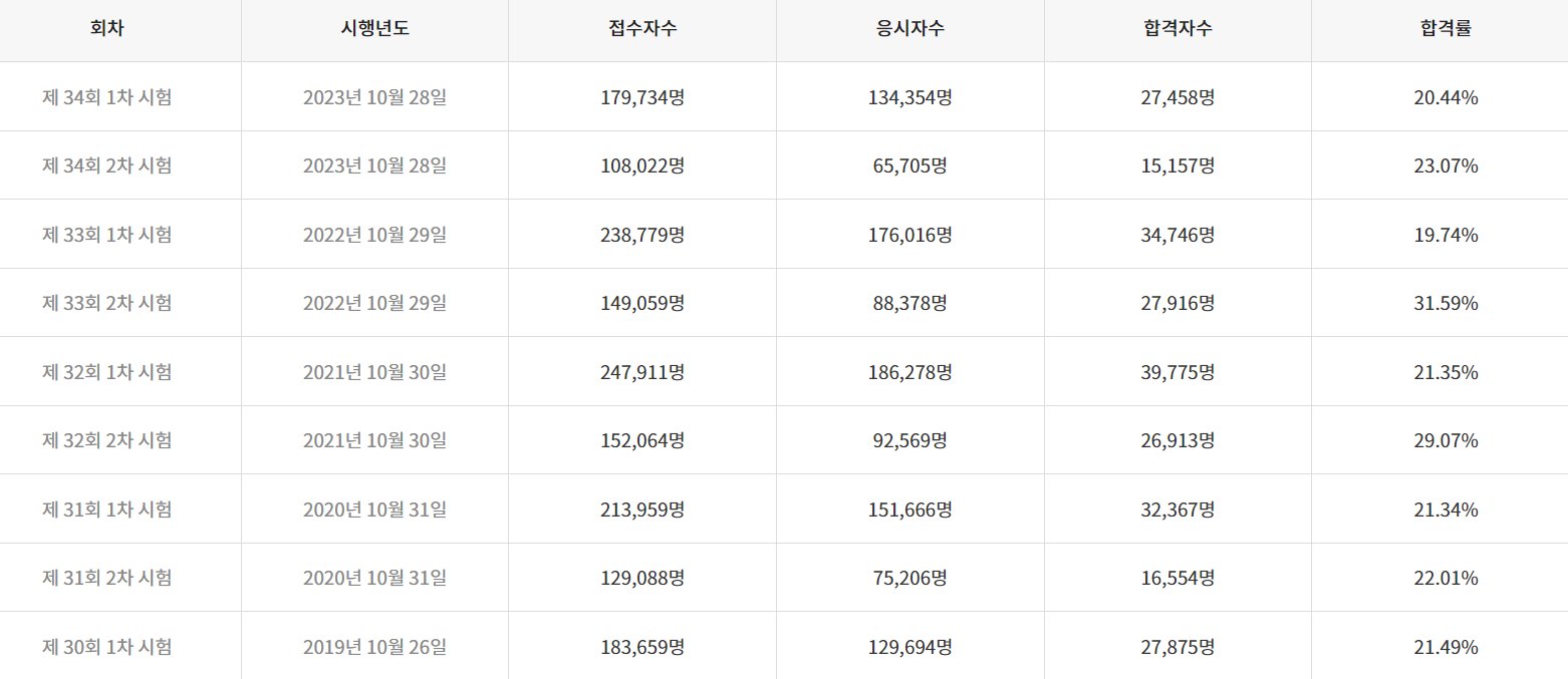
최근 합격률 통계
반응형
'교육' 카테고리의 다른 글
제빵 국비, 제과제빵 국비, 국비지원으로 쉽고 저렴하게 배우기 (0) | 2024.11.18 |
---|---|
요가 자격증 따보기 (내일배움카드 국비지원 여부) (0) | 2024.10.24 |
공인중개사 시험 과목 및 비중 알아보기 (합격률 높이는 방법) (0) | 2024.09.05 |
공인중개사 시험 일정 및 시험 과목 (합격 방법 알아보기) (0) | 2024.09.05 |
AWS 강의 (1달 만에 AWS 클라우드 자격증 따기) (8) | 2024.09.01 |