반응형

교육 33

공인중개사 시험 일정 알아보기 (추가 접수 기간 및 최근 합격률 알아보기)

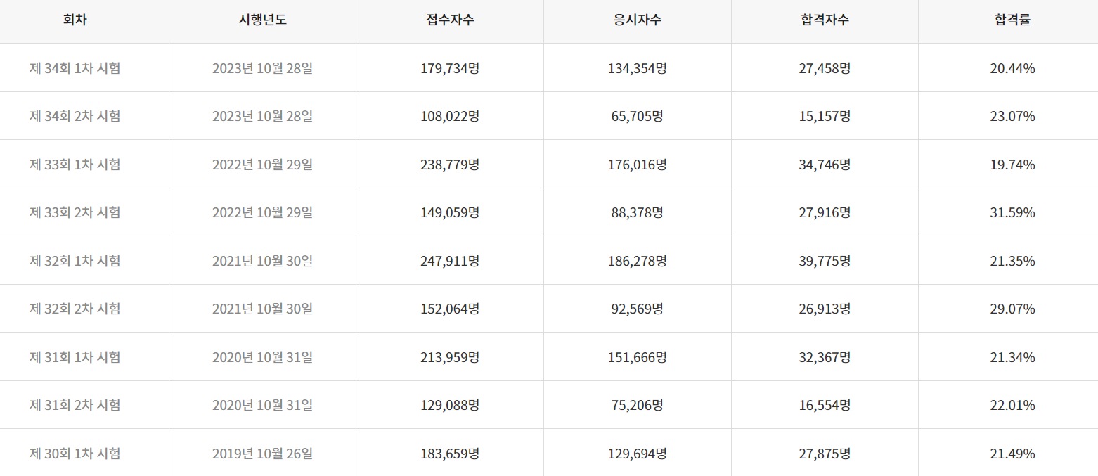
제 35회 공인중개사 시험 일정은 아래와 같으니 참고하시기 바랍니다. 공인중개사 시험 확인하기공인중개사 시험 일정항목2024년 1차 /2차 시험2024.08.05~2024.08.09접수기간2024.10.01~2024.10.02추가 접수기간2024.10.26시험 일정2024.10.26~2024.11.01가답안 발표기간2024.10.26~2024.11.01의견제시기간2024.10.26~2024.11.01최종정답발표기간2024.11.27~2025.01.25합격자발표기간2024.11.27~2025.01.25 https://www.q-net.or.kr/man001.do?gSite=L&gId=08 Q-Net 공인중개사 www.q-net.or.kr 최근 합격률 통계  국민취업지원제도 혜택받기

교육 2024.09.05

공인중개사 시험 일정 및 시험 과목 (합격 방법 알아보기)

공인중개사란 공인중개사는 공인중개사 자격을 취득한 자를 의미하며, 서울특별시장, 광역시장, 도지사가 시행하는 공인중개사 자격시험에 합격해야 하는 것으로 국가가 자격을 인증한 전문 직업입니다.부동산 중개업무, 관리대행, 컨설팅, 상가분양 대행 등을 수행하기 위해 자격증을 취득할 수 있습니다. 시험일정매년 1회 10월경 2024년 제 35회 1,2차 시험일은 10.26일 토요일입니다. 접수기간: 8.5~8.9 (5일간)추가 접수기간 : 10.1~10.2 (2일간)합격자 발표: 11월 27일 수요일공인중개사 시험 일정 알아보기시험과목 및 방법1차시험 (2과목) : 부동산학개론, 민법 및 민사특별법 중 부동산 중개에 관련되는 규정 2차 시험 1교시 (2과목) : 공인중개사의 업무 및 부동산 거래 신고 등에 관한..

교육 2024.09.05

AWS 강의 (1달 만에 AWS 클라우드 자격증 따기)

[ 목차 ]1. AWS란 무엇인가?AWS(Amazon Web Services)는 Amazon이 제공하는 클라우드 컴퓨팅 서비스다양한 IT 자원을 클라우드 환경에서 제공하여 기업들이 서버, 스토리지, 데이터베이스 등 IT 자원을 관리 지원AWS는 확장성, 신뢰성, 보안성, 비용 효율성 등 다양한 장점을 제공전 세계적으로 많은 기업과 개발자들이 활용2. AWS 강의의 중요성과 이점AWS 강의는 클라우드 컴퓨팅 기술의 이해를 돕고, 실무에 적용할 수 있는 능력을 배양다양한 서비스와 도구를 제공하므로, 이를 제대로 이해하고 활용할 수 있는 능력은 현대 IT 환경에서 큰 장점최근 구직자들 사이에서 AWS 지식은 경쟁력으로 급부상중 AWS 자격증 하나로 취업이 당락된다고 볼 수는 없지만, 서류 합격률이 높아질 수는..

교육 2024.09.01
반응형